登录
退出
注册
当前位置:
首页
>
政务公开
>
专题专栏
>
行政法信息公示
>
行政执法部门
>
住建局
>
事前公开
返回首页
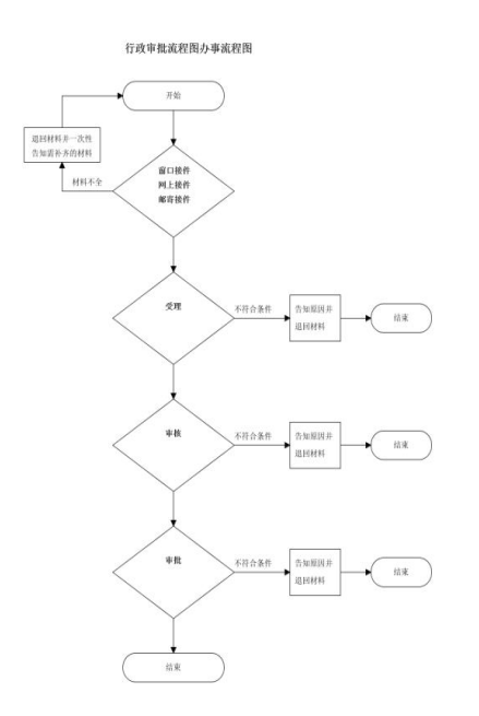
长白朝鲜族自治县住房和城乡建设局行政执法“四张流程图”
发布时间:2023-10-08 信息发布人:长白县住房和城乡建设局
长白朝鲜族自治县住房和城乡建设局行政执法“四张流程图”
初审: 复审: 终审:
主办:吉林省长白县人民政府 版权所有
吉ICP备18000671号-1
网站标识码:2206230001
网站邮箱:jlcb@jl.gov.cn
吉公网安备 22062302660105号